Can you imagine a day on roads without Traffic lights. What a chaos it can be !
But the scene today is completely ordered as electric traffic lights were put in place 110 years ago.
It was today in 1914 when world’s first electric traffic signal was installed in Cleveland, Ohio.
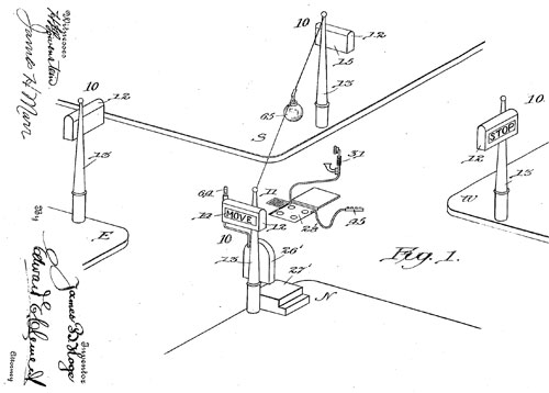
Based on a design by James Hoge, “Municipal Traffic Control System” was considered in 1918. It consisted of four pairs of red and green lights that served as stop-go indicators, each mounted on a corner post. Wired to a manually operated switch inside a control booth, the system was configured so that conflicting signals were impossible.

The introduction of the traffic light allowed police officers directing traffic to move inside a glass booth on the corner where they controlled the light and reported accidents or emergencies.
As Christopher Finch writes in his “Highways to Heaven: The AUTO Biography of America” (1992), the first traffic island was put into use in San Francisco, California in 1907; left-hand drive became standard in American cars in 1908; the first center painted dividing line appeared in 1911, in Michigan; and the first “No Left Turn” sign would debut in Buffalo, New York, in 1916.
#Hindi
क्या आप कल्पना कर सकते हैं कि एक दिन सड़कों पर बिना ट्रैफिक लाइट के कैसा होगा? कितनी अफरा-तफरी मच जाएगी!
लेकिन आज का दृश्य पूरी तरह व्यवस्थित है क्योंकि 110 साल पहले बिजली से चलने वाली ट्रैफिक लाइट लगाई गई थी। 1914 में आज ही के दिन दुनिया की पहली इलेक्ट्रिक ट्रैफिक सिग्नल ओहायो के क्लीवलैंड में लगाई गई थी। जेम्स होग के डिज़ाइन पर आधारित “म्युनिसिपल ट्रैफिक कंट्रोल सिस्टम” को 1918 में लागू किया गया। इसमें चार जोड़े लाल और हरे रंग की लाइटें थीं जो स्टॉप-गो संकेतक के रूप में काम करती थीं, जिन्हें हर कोने पर पोस्ट किया गया था। ये सिस्टम एक नियंत्रण कक्ष के अंदर मैन्युअल रूप से संचालित स्विच से जुड़ा था, जिससे टकराव वाले संकेत देना असंभव था।
ट्रैफिक लाइट के आने से ट्रैफिक नियंत्रित करने वाले पुलिस अधिकारी कोने पर बने एक ग्लास बूथ में जा सकते थे, जहां वे लाइट को नियंत्रित करते और दुर्घटना या आपात स्थितियों की रिपोर्ट करते थे। जैसा कि क्रिस्टोफर फिंच ने अपनी किताब “हाईवेज टू हेवन: द ऑटो बायोग्राफी ऑफ अमेरिका” (1992) में लिखा है, पहली ट्रैफिक आइलैंड 1907 में सैन फ्रांसिस्को, कैलिफोर्निया में उपयोग में लाया गया था; लेफ्ट-हैंड ड्राइव 1908 में अमेरिकी कारों में मानक बन गया; पहला सेंट्रल पेंटेड डिवाइडिंग लाइन 1911 में मिशिगन में दिखाई दिया; और पहला “नो लेफ्ट टर्न” चिह्न 1916 में बफ़ेलो, न्यूयॉर्क में शुरू हुआ।
Can you imagine a day on roads without Traffic lights. What a chaos it can be !
But the scene today is completely ordered as electric traffic lights were put in place 110 years ago.
It was today in 1914 when world’s first electric traffic signal was installed in Cleveland, Ohio.
Based on a design by James Hoge, “Municipal Traffic Control System” was considered in 1918. It consisted of four pairs of red and green lights that served as stop-go indicators, each mounted on a corner post. Wired to a manually operated switch inside a control booth, the system was configured so that conflicting signals were impossible.
The introduction of the traffic light allowed police officers directing traffic to move inside a glass booth on the corner where they controlled the light and reported accidents or emergencies.#Hindi
क्या आप कल्पना कर सकते हैं कि एक दिन सड़कों पर बिना ट्रैफिक लाइट के कैसा होगा? कितनी अफरा-तफरी मच जाएगी!
लेकिन आज का दृश्य पूरी तरह व्यवस्थित है क्योंकि 110 साल पहले बिजली से चलने वाली ट्रैफिक लाइट लगाई गई थी। 1914 में आज ही के दिन दुनिया की पहली इलेक्ट्रिक ट्रैफिक सिग्नल ओहायो के क्लीवलैंड में लगाई गई थी। जेम्स होग के डिज़ाइन पर आधारित “म्युनिसिपल ट्रैफिक कंट्रोल सिस्टम” को 1918 में लागू किया गया। इसमें चार जोड़े लाल और हरे रंग की लाइटें थीं जो स्टॉप-गो संकेतक के रूप में काम करती थीं, जिन्हें हर कोने पर पोस्ट किया गया था। ये सिस्टम एक नियंत्रण कक्ष के अंदर मैन्युअल रूप से संचालित स्विच से जुड़ा था, जिससे टकराव वाले संकेत देना असंभव था।
ट्रैफिक लाइट के आने से ट्रैफिक नियंत्रित करने वाले पुलिस अधिकारी कोने पर बने एक ग्लास बूथ में जा सकते थे, जहां वे लाइट को नियंत्रित करते और दुर्घटना या आपात स्थितियों की रिपोर्ट करते थे। जैसा कि क्रिस्टोफर फिंच ने अपनी किताब “हाईवेज टू हेवन: द ऑटो बायोग्राफी ऑफ अमेरिका” (1992) में लिखा है, पहली ट्रैफिक आइलैंड 1907 में सैन फ्रांसिस्को, कैलिफोर्निया में उपयोग में लाया गया था; लेफ्ट-हैंड ड्राइव 1908 में अमेरिकी कारों में मानक बन गया; पहला सेंट्रल पेंटेड डिवाइडिंग लाइन 1911 में मिशिगन में दिखाई दिया; और पहला “नो लेफ्ट टर्न” चिह्न 1916 में बफ़ेलो, न्यूयॉर्क में शुरू हुआ।
Share this: