The Rubik’s Cube is a 3D puzzle game created in 1974 by Hungarian inventor Erno Rubik. It consists of a cube with six faces, each made up of nine smaller squares of various colours. The puzzle is solved by twisting and turning the cube’s faces, hoping to get all nine squares on each face to match the same colour.
Rubik’s Cube partially disassembled
When the Rubik’s Cube was first released, it quickly became a worldwide sensation. Many people spent hours trying to solve the puzzle, either on their own or with friends. There were even competitions held to see who could solve the Rubik’s Cube the fastest.
The Rubik’s Cube has been a popular puzzle game for over 45 years now, and it still has a large following today. Despite its age, there are still people who continue to push the limits of what can be done with the Rubik’s Cube. Speedcubing, for example, is a sport in which contestants try to solve the cube as quickly as possible, with some achieving times as low as 5 seconds.
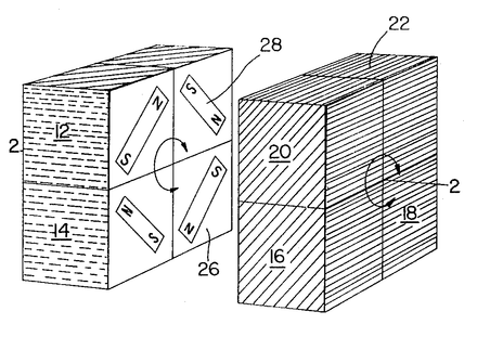
Diagram from Nichols’ patent showing a cube held together with magnets
One of the reasons the Rubik’s Cube has remained so popular over the years is its simplicity. The puzzle is easy to understand, but difficult to master. Getting all of the colours to match is a challenge that can take hours, days, or even weeks to achieve, and there is always room for improvement.
Another reason for the Rubik’s Cube’s longevity is its versatility. There are countless variations of the puzzle, from different shapes and sizes to different numbers of squares and colours. There are even Rubik’s Cubes with pictures on them, adding another level of complexity to the puzzle.
The current colour scheme of a Rubik’s Cube — yellow opposes white, blue opposes green, orange opposes red, and white, green, and red are positioned in anti-clockwise order around a corter.
Despite all the variations, the basic idea of the Rubik’s Cube remains the same. It is a puzzle that challenges the mind and requires skill and patience to solve. It has stood the test of time and will undoubtedly continue to be a favourite among puzzle enthusiasts for years to come.
#Hindi
रूबिक क्यूब एक 3डी पहेली वाला गेम है जिसे 1974 में हंगरी के आविष्कारक एर्नो रूबिक ने बनाया था। जब रूबिक्स क्यूब को पहली बार रिलीज़ किया गया, तो ये जल्दी ही दुनिया भर में सनसनी बन गया। कई लोगों ने अकेले या दोस्तों के साथ इस पहेली को सुलझाने में घंटों लगा दिए। ये देखने के लिए प्रतियोगिताएं भी आयोजित की गईं कि रूबिक क्यूब को सबसे तेजी से कौन हल कर सकता है।
रूबिक क्यूब 45 से ज़्यादा सालों से एक लोकप्रिय पहेली रहा है, और आज भी इसे पसंद करने वालों की लिस्ट बहुत लम्बी है। इसकी उम्र के बावजूद, अभी भी ऐसे लोग हैं जो रूबिक क्यूब के साथ क्या किया जा सकता है, इसकी सीमाओं को आगे बढ़ाते रहते हैं। उदाहरण के लिए, स्पीडक्यूबिंग, एक ऐसा खेल है जिसमें प्रतियोगी जितनी जल्दी हो सके घन को हल करने की कोशिश करते हैं, कुछ तो 5 सेकंड में ही इसे हल कर लेते हैं।
रूबिक क्यूब की पहेली को समझना आसान है, लेकिन इसमें महारत हासिल करना मुश्किल है। सभी रंगों का मिलान करना एक चुनौती है जिसे पाने में घंटे, दिन या सप्ताह भी लग सकते हैं, और हमेशा सुधार की गुंजाइश रहती है। तमाम विविधताओं के बावजूद, रूबिक क्यूब का मूल विचार वही रहता है। ये एक पहेली है जो दिमाग को चुनौती देती है और इसे हल करने के लिए कौशल और धैर्य की ज़रूरत होती है।
The Rubik’s Cube is a 3D puzzle game created in 1974 by Hungarian inventor Erno Rubik. It consists of a cube with six faces, each made up of nine smaller squares of various colours. The puzzle is solved by twisting and turning the cube’s faces, hoping to get all nine squares on each face to match the same colour.
When the Rubik’s Cube was first released, it quickly became a worldwide sensation. Many people spent hours trying to solve the puzzle, either on their own or with friends. There were even competitions held to see who could solve the Rubik’s Cube the fastest.
The Rubik’s Cube has been a popular puzzle game for over 45 years now, and it still has a large following today. Despite its age, there are still people who continue to push the limits of what can be done with the Rubik’s Cube. Speedcubing, for example, is a sport in which contestants try to solve the cube as quickly as possible, with some achieving times as low as 5 seconds.
showing a cube held together with magnets
One of the reasons the Rubik’s Cube has remained so popular over the years is its simplicity. The puzzle is easy to understand, but difficult to master. Getting all of the colours to match is a challenge that can take hours, days, or even weeks to achieve, and there is always room for improvement.
Another reason for the Rubik’s Cube’s longevity is its versatility. There are countless variations of the puzzle, from different shapes and sizes to different numbers of squares and colours. There are even Rubik’s Cubes with pictures on them, adding another level of complexity to the puzzle.
Despite all the variations, the basic idea of the Rubik’s Cube remains the same. It is a puzzle that challenges the mind and requires skill and patience to solve. It has stood the test of time and will undoubtedly continue to be a favourite among puzzle enthusiasts for years to come.
#Hindi
रूबिक क्यूब एक 3डी पहेली वाला गेम है जिसे 1974 में हंगरी के आविष्कारक एर्नो रूबिक ने बनाया था। जब रूबिक्स क्यूब को पहली बार रिलीज़ किया गया, तो ये जल्दी ही दुनिया भर में सनसनी बन गया। कई लोगों ने अकेले या दोस्तों के साथ इस पहेली को सुलझाने में घंटों लगा दिए। ये देखने के लिए प्रतियोगिताएं भी आयोजित की गईं कि रूबिक क्यूब को सबसे तेजी से कौन हल कर सकता है।
रूबिक क्यूब 45 से ज़्यादा सालों से एक लोकप्रिय पहेली रहा है, और आज भी इसे पसंद करने वालों की लिस्ट बहुत लम्बी है। इसकी उम्र के बावजूद, अभी भी ऐसे लोग हैं जो रूबिक क्यूब के साथ क्या किया जा सकता है, इसकी सीमाओं को आगे बढ़ाते रहते हैं। उदाहरण के लिए, स्पीडक्यूबिंग, एक ऐसा खेल है जिसमें प्रतियोगी जितनी जल्दी हो सके घन को हल करने की कोशिश करते हैं, कुछ तो 5 सेकंड में ही इसे हल कर लेते हैं।
रूबिक क्यूब की पहेली को समझना आसान है, लेकिन इसमें महारत हासिल करना मुश्किल है। सभी रंगों का मिलान करना एक चुनौती है जिसे पाने में घंटे, दिन या सप्ताह भी लग सकते हैं, और हमेशा सुधार की गुंजाइश रहती है। तमाम विविधताओं के बावजूद, रूबिक क्यूब का मूल विचार वही रहता है। ये एक पहेली है जो दिमाग को चुनौती देती है और इसे हल करने के लिए कौशल और धैर्य की ज़रूरत होती है।
Share this: